Nintendo

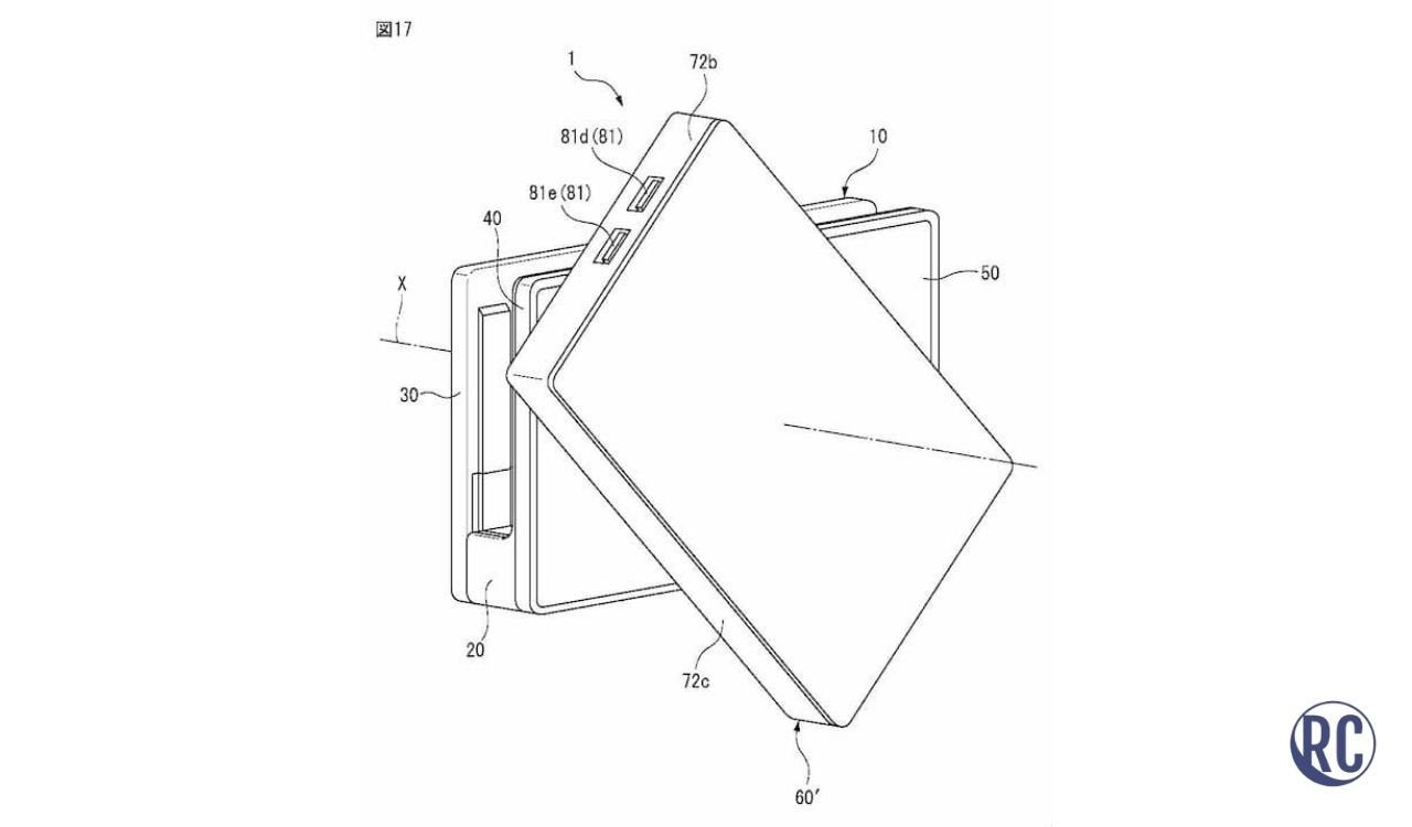
New patent for Nintendo Switch’s improved base reveals that the cable interface can be rotated



New patent for Nintendo Switch’s improved base reveals that the cable interface can be rotated